寒武纪上海子公司增资至37亿人民币
创始人
2025-12-19 20:19:43
0

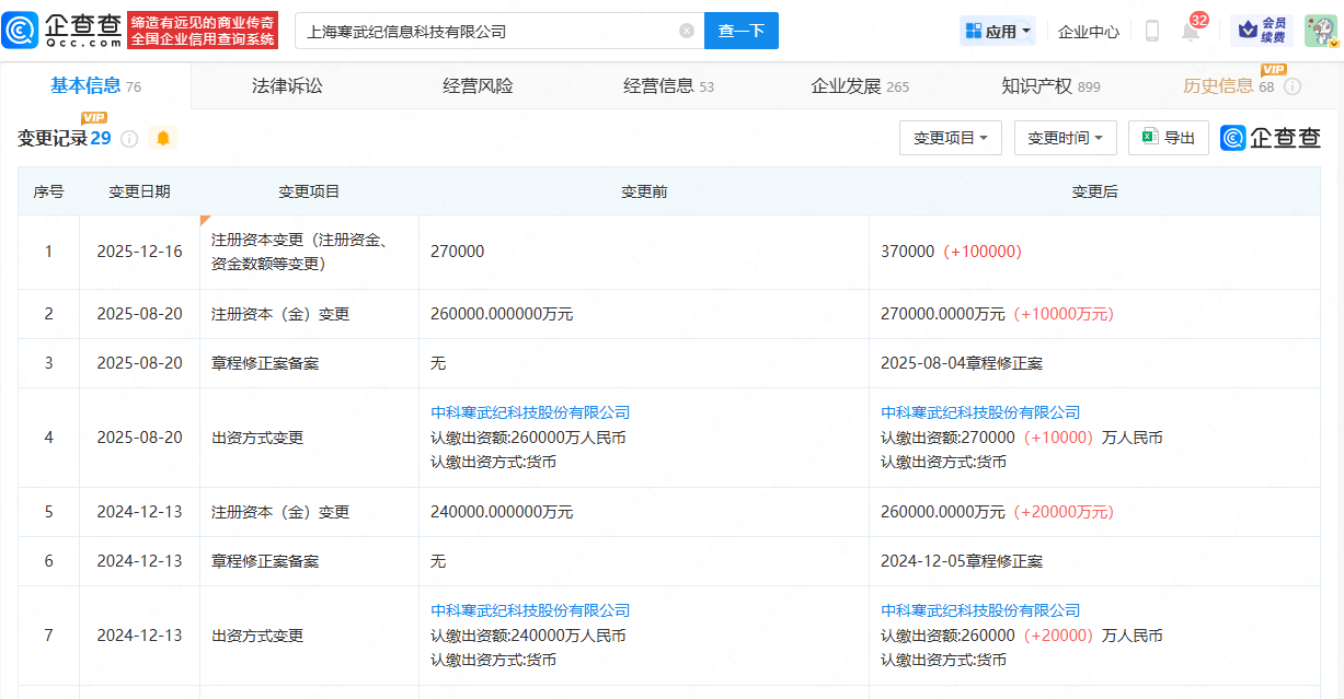
企查查APP显示,近日,上海寒武纪信息科技有限公司发生工商变更,注册资本由27亿人民币增至37亿人民币。企查查信息显示,该公司成立于2016年4月,法定代表人为王在,经营范围涉及计算机软件、计算机科技、信息技术、智能化科技领域内的技术开发、技术咨询、技术服务、技术转让等,由寒武纪(688256)全资持股。

相关内容

“建议像治理黄色网站治理网...
全国两会召开期间,全国政协委员、湖南省岳阳市岳阳楼区桥西小学高级教...
2026-03-07 18:13:09
身份证藏着“黑科技”、科学...
(来源:上观新闻)3月7日下午,全国政协十四届四次会议第二场“委员...
2026-03-07 18:11:23
“未来五到十年,中国将会不...
来源:@中新经纬微博今年政府工作报告提出,打造集成电路、航空航天、...
2026-03-07 18:09:36
《中国日报》头版刊发全国人...
《中国日报》今日头版“中国式现代化的地方实践”高端访谈栏目推出全国...
2026-03-07 18:07:50
女演员潘之琳逛街时鞋底突然...
近日,演员潘之琳在社交平台发视频,称自己穿着闲置多年的鞋子逛街时,...
2026-03-07 18:06:03
红果会对真人拍摄微短剧缩减...
  炒股就看金麒麟分析师研报,权威,专业,及时,全面,助您挖掘潜力...
2026-03-07 17:58:30
【法治日报】专访王淑梅:公...
随着我国高水平对外开放不断扩大,营商环境司法保障需求日益凸显。在为...
2026-03-07 17:56:43
知名车企董事长,承认抄袭
3月6日晚,长城汽车董事长魏建军在其个人号发视频道歉,承认魏牌V9...
2026-03-07 17:54:57
民生记者会特写 | 教育、...
■中国经济时报记者 曹阳  3月7日上午,十四届全国人大四次会议在...
2026-03-07 17:53:11

热门资讯

以“税信”换“银信”,中信银行... 为深入贯彻中央金融工作会议精神,中信银行济南分行立足服务实体经济,聚焦小微企业“融资难、融资慢”问题...
中国工商银行申请信贷数据处理方... 国家知识产权局信息显示,中国工商银行股份有限公司申请一项名为“信贷数据处理方法、装置、设备、存储介质...
周五(3月6日)纽约尾盘(周六... 周五(3月6日)纽约尾盘(周六北京时间05:59),离岸人民币(CNH)兑美元报6.9030元,较周...
360数科(QFIN.US)3... 截至2026年3月6日(美国东部时间)收盘,360数科(QFIN.US)报收于14.72美元/股,上...
娃的脑发育黄金是锌,8道家常菜... 锌元素对孩子的脑发育起着至关重要的作用,它就像一把神奇的钥匙,能打开孩子智力发展的大门。今天就为大家...
美联储Hammack:黄金不会... 美联储Hammack:黄金不会成为美元的竞争对手。
COMEX黄金期货收涨2.02... 人民财讯3月7日电,当地时间3月6日,COMEX黄金期货收涨2.02%;COMEX白银期货收涨3.0...
锚定国家战略,恒丰银行如何练就... 如果观察近两年中国银行业的转型路径,会发现一个鲜明的共性:告别“规模情结”,深耕“战略腹地”。而恒丰...
苏州银行提名吴杰为第六届董事会... 上证报中国证券网讯 苏州银行3月6日晚发布公告,当日,该行在苏州工业园区钟园路728号苏州银行大厦现...
徽商银行:以金融之笔描绘二十年... 二十年来,徽商银行的一组组数字令人印象深刻:个人客户数翻番至近3900万,省内每三人中就有一位是其客...