深圳商报·读创客户端记者 靳恩琦
11月28日,洛阳轴承集团股份有限公司(简称“洛轴股份”)在深交所递交招股书。公司前身为始建于1954年的洛阳轴承厂,是国家“一五”计划期间156个重点建设项目之一。
据招股书,洛轴股份本次拟使用募资18亿元分别投入高速列车转向架轴承开发及应用、新能源轴承智能化生产建设项目、重大技术装备配套精密轴承产业升级建设项目、高端精密小型转盘轴承产业化建设项目及偿还银行贷款项目。其中1.97亿元用于偿还银行贷款。

业绩方面,2022年至2024年及2025年上半年(简称“报告期”),洛轴股份实现营业收入分别为33.42亿元、44.41亿元、46.75亿元和28.21亿元;归属于母公司股东的净利润分别为-0.67亿元、2.31亿元、2.51亿元和2.57亿元。
洛轴股份称,公司2022年实施混合所有制改革,2023年以来受益于产品结构优化、下游市场需求释放及经营效率提升等因素,公司经营业绩提升。
招股书显示,洛轴股份主营轴承及相关零部件的研发、生产和销售,是中国轴承行业规模最大的综合性轴承制造企业之一。
报告期内,成品轴承销售收入金额分别为30.60亿元、41.7亿元、43.79亿元和26.84亿元,占主营业务收入的比例分别为94.58%、96.43%、96.69%和97.55%,其中专用轴承占比相对较高。
报告期内,洛轴股份向关联方济源钢铁采购轴承钢等原材料,关联采购金额分别为6.03亿元、7.00亿元、7.14亿元、3.22亿元,占公司各期采购总额比例分别为16.91%、16.70%、16.81%和12.54%。招股书显示,2023年及2024年济源钢铁均为洛轴股份第一大供应商。
洛轴股份向济源钢铁关联采购规模较大,若公司未能严格履行关联交易决策程序、关联交易内部控制失效或关联交易定价不公允,则可能存在关联方利用关联采购损害公司或中小股东利益的风险。
招股书显示,报告期内洛轴股份应收账款占比也较高。公司各期应收账款账面余额分别为16.54亿元、21.01亿元、24.73亿元和26.51亿元,占当期营业收入比例分别为49.49%、47.30%、52.89%和47.00%(年化处理)。
同时,报告期内洛轴股份经营发展及固定资产投资等主要依赖债务融资,导致债务规模较高。报告期各期末,公司资产负债率分别为84.57%、82.19%、79.43%和80.74%。未来随着公司业务规模持续增长,营运资金及产能扩充均存在一定资金需求,如公司不能有效进行资金管理,则会面临一定资金压力和偿债风险。
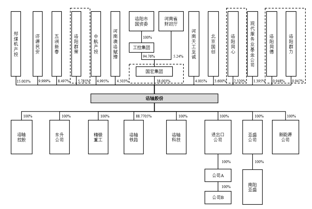
此外,洛轴股份股东中航产投持有的4.995%股权被法院查封冻结,期限为2025年6月17日至2028年6月16日。截至招股说明书签署日,上述股权查封冻结事项尚未解除,若后续该事项未能妥善解决,公司将面临股权结构变动的风险。
根据招股书股权结构图,冻结股份为中航产投全部持股,本次发行前该公司为洛轴股份第6大股东。

据招股书,2025年6月9日,公司收到江西省九江市中级人民法院《协助执行通知书》显示,关于法院受理的申请人九江银行股份有限公司与被申请人中航产业投资有限公司信托纠纷一案,其作出的民事裁定书已发生法律效力,查封:中航产业投资有限公司持有的洛阳轴承集团股份有限公司4.995%的股权,查封期限为三年。